Page 6      


MANUAL 5 - SPEED GEARBOX
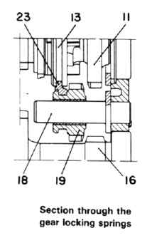
Reverse-cone free-ring synchro-mesh on first-second-third and fourth gears and spring ring on fifth gear

                                                                                                                      

Section facing reverse gearshaft and cogs                                       Section through the gear locking springs
 

 

Previous            Table of Contents                Next